
吸取从事药品真空干燥箱开发中的许多教训,在着手无料盘的真空干燥箱开发前制订了几条要达到的主要目标:
(1)必须比传统干燥箱操作更方便快捷,实现机械化装卸料,排除手工操作可能增加污染药品的机会;
(2)干燥速度和效率大大超过前开发的新型干燥箱;
(3)仍保持罩筒式药品真空干燥箱一样的清洗方便性和彻底性。
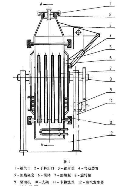
开发就围绕上述提出的明确目标进行,经过多方案比较和论证后,从中选择一种最佳的方案。该器面板上,带加热夹略呈倒锥形的可拆卸式筒体,两端为卡箍式法兰结构,上部法兰与带干料出口及真空抽气口的锥形盖连接,下部法兰则与蒸汽车发生器连接,锥形盖由气动装置操纵开闭。在加热夹套外壁近设备重心中部设固定旋转轴,该旋转轴支承在支架上。在驱动机驱动下使旋转轴带动简体可作1800翻转。在锥形盖垂直向上时,松去卡箍法兰后开动气动装置打开锥形盖,湿物料就可一次性加入简体内,料面处于加热板顶端附近,关闭锥形盖并锁紧卡箍法兰,然后就可将干燥箱转入抽真空和加热干燥操作。完成干燥后,将专用出料桶用卡箍法兰紧固在锥形盖的干料出口上,然后将简体翻转到锥形盖垂直向下,干燥物料卸人专用卸料桶内。
如图1,2所示,锥形加热板的各加热面之间,以及加热板与简体加热面之间均略呈锥形角,其目的是为迅速干净卸清干物料创造条件。由图知物料充满简体内,物料与加热面直接接触,之问没有方案设备的干燥对象为各种无粘性松散状物料,由于取消了料盘,消除了料盘制约干燥箱的许多负面影响,如干燥箱不适应较大规模应用。当然我们也充分考虑许多带粘稠性药品干燥需要,我们同时着手开发适合这类药品的干燥设备,使药品干燥设备选型时有更多更合适的干燥机可供选择。关于中药浸膏类干燥机开发拟在另文介绍。
一、结构介绍
无料盘药品真空干燥箱是由许多块略呈锥形立式加热板焊接在低温(25~1 1 8℃)饱和蒸汽发生

料盘与空隙,加热条件之优是任何料盘干燥箱无法比拟的。由于包括加热板与简体夹套加热面的全部加热面积均参与接触物料和加热物料的作用,没有一部分加热面积或加热面积金属材料被浪费。相反料盘式干燥箱的加热盘管或加热平板,最少有一半不起作用或外用十分微小。本干燥箱除了锥形盖外,所有简体与加热板均是直接为加热干燥服务的,再由于取消了料盘式干燥箱中料盘与料盘之间的间隔空间,使干燥箱箱体大幅度减小,不再需要庞大箱体和箱门,故极大地节省了钢材量,并使箱体达到高度紧凑。
由图知本干燥箱中夹套及加热板全部采用低温饱和蒸汽作热源,与传统采用热水加热的真空干燥箱比较,不仅给热系数高且无进出口温度差,所有加热面上的温度均匀一致,自然会大大提高干燥效率。

本干燥箱可采用电加热或0.1~0.2MPa饱和蒸汽为一次热源,二次低温饱和蒸汽温度在25~1 18。之间可任意设定予以严格控制,故十分适用于热敏温度≤70。(2各种药品干燥。本干燥箱真空度可达到一般机械或真空泵最高真空度。为了回收有机溶剂需要,可在真空管路中设溶剂冷凝器。本药品真空干燥箱因很紧凑而散热面积很小,再在体外设良好的绝热措施,故散热少,热效率≥90%以七。
本真空干燥箱结构中可折卸式简体是专为方便清洗和彻底清洗而设置的。卡箍式法兰可以十分省力便捷折卸简体,卸去筒体后全部加热板可方便地在目视条件下予以清洗干净,故本燥箱无论从生产操作或拆洗各个方面,在结构设计上都认真地贯彻GMP要求。由于本药品真空干燥箱实现无盘料干燥,故其规格不能再以其它料盘干燥箱以料盘数来表示,为此采用简体内装料容积(In3)数表示规格大小,并以相当的料盘(460×640 X45)数以资说明。
二、规格(共6种)
0.25m3(20盘)0.5m3(40盘)0.75m3(60盘)1.Om3(80盘)1.25m3(100盘)1.5m3(120盘)。http://www.zhenghangsy.com