
	随着社会的快速发展,人们对物质生活的要求越来越高,对原拥有的水龙头已有了更高的要求。而现有的冷热水双进水龙头,其调节水温是靠阀门机械的位置地确定冷热水量,其调节较复杂,且浪费的水量多。即使调好的水温也会受到水压的变化或其它相邻的水龙头启闭时影响,使龙头调温好的出水温度又会改变,最终影响到使用的舒适性。在淋浴时,由于水温的忽冷忽热,特别是万一调整不当,还会烫伤人体。
	
	
	
 
	
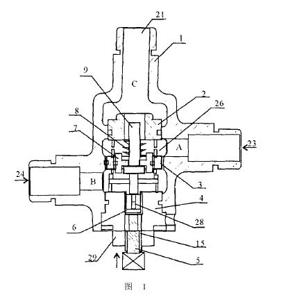
	原有的一些水龙头由于易受到管道内水压变化而影响调整好的最终出水温度,且其内腔机械结构件易损坏,所以现流体恒温装置在设计时考虑到要有灵敏的感温元件、可靠的机械调控装置及提供一种合理的流体管道。该自动恒温控制装置的元件及工作过程参见图1。阀套2基本上为一圆柱型壳体,而阀套顶端21为开口端,其内腔26容纳阀片7,阀片制成截面为工字形,用其侧壁宽度对冷热媒体的进口部分的掩盖流量调节。
	
	
	
	
	
	阀套侧壁及设有外部热流体进入口23,外部冷流体进入口24,开口端为混合流体出口21,上述流体进入口或出口通过阀片上的孔17互相连通,且为避免当流体温度控制装置在与其它装置结合时(如水龙头)流体外漏的问题,可在阀套2的适当部位设若干环槽,再将O型环3套在环槽上。温度设定机构为一旋转钮5,在阀套接合部分为螺纹15,使旋转钮可以以旋转方式与外壳顶端29结合,旋转钮5连接阀套内的调节杆28。
	此阀套6为限定装置,限定了感温管上的活塞膨胀棒。限位弹簧8设置在阀片7的另一侧,且弹簧被阀套的内台阶限位,弹簧亦套在感温管上。图1所示,阀片7的位置由感温管9及温度设定机构5所确定,温度设定机构5通过弹簧8在感温管9上有反方向的作用力,当上述作用力平衡时,阀片7的位置即被确定。为方便说明功能,假设图1为起始时的平衡状态,此时只有热水可以从外部流入,由于感温管接触到热水,因此受热后,内部发生膨胀,此时,由于弹簧8受压缩,直弹簧8及温度设定机构的作用力达到平衡为止。
	
	
	
	
	
若使用者欲设定更低的排出水温,比如摄氏三十度,则可以在使用前或在使用中将温控旋转钮5向内旋(沿箭头方向),则因阀片沿箭头方向移动,使热水进入的比例减少,反之若希望排出水温较高,则需要将旋转钮向逆箭头方向。在水龙头实例中,如图1,龙头外壳1阀套2通过四个密封圈3内部分隔成三个独立的内腔,即高温流体腔A、低温流体腔B,混合流体腔C。感温管9的内部充满醚类液体或固体,感温剂的媒质热胀冷缩,9的位移量与所感温度有一一对应关系,详见图2。通过调节螺纹5,调节部件即调节杠28在阀体内的位置,从而自动平衡高温水与低温水混合比例,使混合后的水流稳定在设定的温度上。http://www.zhenghangsy.com